2021年炎陵县住房和城乡建设局落实优化营商环境活动实施方案的案例一
信息来源:县优化营商环境协调事务中心
浏览次数: 发布时间:2021-09-28 09:32
分享到
案例一
【政策依据】《湖南省住房和城乡建设厅 关于进一步提高施工图审查效率》的通知(湘建设〔2019〕175 号)、炎陵县住房和城乡建设局联合炎陵县财政局联合行文的《关于报销施工图审查服务费有关事项》的通知(炎建财联字〔2018〕1 号)、湖南省住房和城乡建设厅关于印发《湖南省建设工程施工图审查管理办法》的通知湘建设〔2019〕239号。
【政策干货】 建设单位申请施工图审查的,由建设单位在湖南省施工图管理信息系统进行申报,由住房城乡建设部门委托施工图审查机构,并签订合同并付费实行政府购买施工图审查服务,所需审查服务费纳入政府财政预算。并将项目办理用时压缩至10个工作日内。
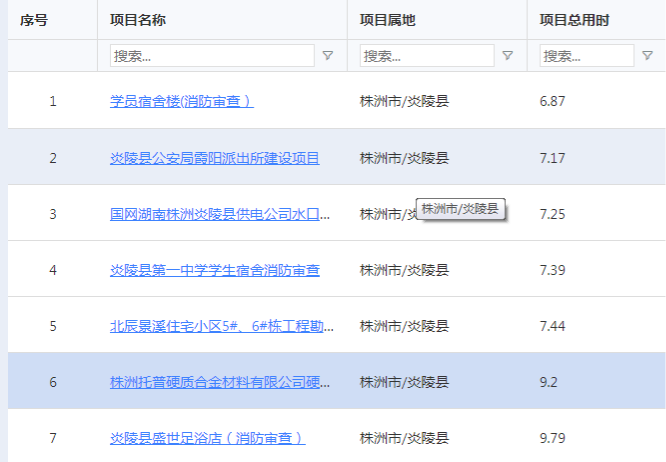
【案例1】 国网湖南株洲炎陵县供电公司水口供电所建设项目,由建设单位通过湖南省施工图管理信息系统进行项目申报,设计勘察单位通过系统上传设计文件,实现"零接触""零跑腿",后由炎陵县住房和城乡建设局通过系统进行审图机构遴选并签订合同实现"零付费",并将项目办理用时压缩至10个工作日内。
【案例2】 株洲托普硬质合金材料有限公司硬质合金粉末及喷涂粉末生产线搬迁项目,由建设单位通过湖南省施工图管理信息系统进行项目申报,设计勘察单位通过系统上传设计文件,实现"零接触""零跑腿",后由炎陵县住房和城乡建设局通过系统进行审图机构遴选并签订合同实现"零付费",并将项目办理用时压缩至10个工作日内。


